Ballbarrow

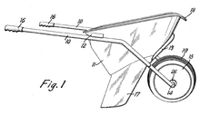
The Ballbarrow was a variation of the wheelbarrow design,[1] by James Dyson and was released in 1974 in the UK.[2] It featured a moulded plastic hopper on a steel frame and a spherical plastic wheel, allowing increased manoeuvrability. Dyson said that the surface area of the ball, larger than that of a conventional design, made the wheelbarrow easier to use in soft soil and more laterally stable with heavy loads on uneven ground.[3]
The original design featured a galvanised steel hopper. Later, the design was changed to a plastic hopper, with an optional clip-on height-extension piece.[4]
The Ballbarrow won the Building Design Innovation Award in 1977.[5] Dyson continued with the ball-wheel concept in his design for the Trolleyball boat launcher in 1978, and the DC15 vacuum cleaner in 2005.
References
- ↑ "Dyson Ballbarrow". Deconstructing Product Design. Retrieved 24 May 2015.
- ↑ "Top Ten Machines Developed by Dyson". The Telegraph Online. Retrieved 24 May 2015.
- ↑ "Inside Dyson: Ballbarrow". Archived from the original on June 18, 2013. Retrieved 4 November 2013.
- ↑ "Ballbarrow floats on mud", Popular Science, February 1976
- ↑ "James Dyson". Oxford Index. Retrieved 24 May 2015.